冰箱门内胆怎么拆开

时间:2023-08-04 20:10:35 教育 我要投稿

  首先将冰箱门封条翻起,用十字螺丝刀把所有固定门封条的螺丝钉逐个拆下,然后再将门封条从门内胆上拉开取下。

  冰箱门内胆怎么拆开1

  拆除支脚的前盖

  首先,打开冷冻室和冷藏室的门、然后、逆时针旋转支脚前盖处的三个螺钉将前盖卸下。

  分离冰箱的`供水管

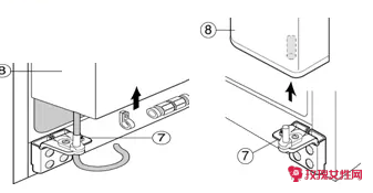
  拧开夹钳的螺丝钉(a)

image.png  

  1.按住管接头并拔出水管 2 将其拆下。

image.png  

  拆掉上部的铰链盖(左和右)

image.png  

  移开上部的铰链盖然后拆掉电线

image.png  

  旋转铰链螺钉(3) 和地线螺钉 (4), 将其拆除并沿着箭头的方向 (6)卸下上部的铰链(5) . 小心冷冻室门在拆除过程中不要滑落

image.png  

  小心将门抬起(8),将其从下部铰链上卸下来(7)

image.png  

  冰箱门内胆怎么拆开2

  冰箱是现代家庭生活中不可缺少的大型家用电器,它可以让我们的食物保持新鲜。但是,我们在使用冰箱时,经常会遇到需要清洗或者维修的情况。本文将介绍如何拆下冰箱门内胆,以便进行维修或清洗。

  拆下冰箱门内胆的第一步是取下冰箱门上的扶手。在大多数冰箱上,扶手与门上有两个或多个螺丝密封。这些螺丝通常用一个标准的螺丝驱动器即可轻松卸下。

  拆下扶手后,即可看到背板。在大多数冰箱上,冰箱背板上同样有一些螺丝,用于固定背板。使用螺丝刀按照螺丝驱动器的.尺寸卸下这些螺钉即可把背板拆下。

image.png  

  现在,您已经拆下了扶手和背板。接下来,您需要寻找内胆的螺丝。在一些冰箱门板上,可能有一个不起眼的薄膜彩贴,用手轻轻降落即可发现内胆的螺钉,使用螺丝批轻轻松松卸下,拆掉这些螺丝后,内胆即可轻松取下。

  在进行任何维修或清洗操作时,请先确保您的安全。在拆下冰箱门内胆之前,切记要先打开及拔掉电源插头,以确保不会触电。此外,如果您不熟悉拆解过程,建议您阅读冰箱的使用手册或寻求专业人士的帮助。

  冰箱门内胆怎么拆开3

  一、展示柜冰箱简介

  展示柜冰箱是为商品展示提供的,具有保护作用的展示台。颜色可根据店铺装修选择。展示柜冰箱,结构牢固,拆装容易,运输方便,广泛用于公司展厅,展览会,百货商场,广告等,在工艺品,礼品,珠宝,手机,眼镜,钟表,烟酒,化妆品等行业得到广泛运用。

  二、展示柜冰箱内部构造

  靠墙摆放的展柜背板为不透光板,可选与柜体外观一样的颜色,白色或者镜面。顶部可装灯箱片,柜内灯可选日光灯,射灯,顶部带灯箱。高度,宽度,长度可以根据使用调整。方形的展示柜冰箱一般为四边透光玻璃,适合以展示珠宝,首饰,手表,手机,眼镜,*品等小件物品,还可以用于展示礼品,工艺品,电子产品,笔,烟酒等较大件物品。

image.png  

  三、展示柜冰箱门怎么拆

  1、拆卸支脚的'前盖

  首先,打开冷冻室和冷藏室的门,然后,逆时针旋转支脚前盖处的三个螺钉将前盖卸下。

  2、拆卸分离的供水管

  拧开夹钳的螺丝钉;按住管接头并拔出水管 将其拆下;拆掉上部的铰链盖;移开上部的铰链盖然后拆掉电线;旋转铰链螺钉和地线螺钉,将其拆除并沿着箭头的方向卸下上部的铰链,小心冷冻室门在拆除过程中不要滑落;小心将门抬起,将其从下部铰链上卸下来;从下部铰链支架上按箭头方向抬起下部铰链,移开下部铰链。

【冰箱门内胆怎么拆开】相关文章:

电压力煲内胆材质选择06-05

劣质电饭锅内胆有毒吗06-08

獭兔毛内胆可以水洗吗07-31

不锈钢内胆饭盒可以放微波炉加热吗07-23

怎么和公婆怎么相处04-24

彩票怎么买怎么选号啊07-01

怎么才回信息怎么回复04-20

新手怎么买彩票怎么选号07-04

窗户怎么关不上怎么办07-03

游泳学怎么学憋气怎么学06-04